Rückblick: Verpackungen und ihre Geschichte

Wie die Streifen in die Zahnpasta kamen

Signaltube mit Faltschachtel aus der Zeit zwischen 1960 und 1970.
Signaltube mit Faltschachtel aus der Zeit zwischen 1960 und 1970.

1961 kam die rot gestreifte Signal-Zahncreme in der Aluminiumtube in Deutschland auf den Markt.

Die neuartigen roten Streifen signalisierten dem Verbraucher eine zusätzliche antibakterielle Mundwasserwirkung. Hinter dieser revolutionären Produkt- und Verpackungsinnovation stand die Erfindung des Amerikaners Leonard L. Marraffino aus Mount Vernon, NY, der Mitte der Fünfzigerjahre des letzten Jahrhunderts den Streifenkopf für die Tube erfand und die Lizenzrechte an Unilever verkaufte.

Wie kommen die Streifen in die Tube?

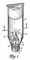
Unter der Patentnummer US 2.905.364 kann man Aufbau und Funktion des von Marraffino erfundenen und angemeldeten Tubenkopfes mit getrenntem, rohrförmigem Halsstück und seitlichen Schlitzen im inneren Mündungsbereich genau nachvollziehen. In den äußeren abgeteilten Bereich wird zuerst die rote Zahncreme eingefüllt und anschließend in einem zweiten Schritt die weiße Creme. Drückt man auf die Tube, werden aufgrund der gleichmäßigen Druckverteilung rote Streifen durch die seitlichen Schlitze auf den inneren weißen Strang aufgetragen beziehungsweise untergemischt. Diese Entwicklung machte Signal damals zur größten Einzelmarke im Zahnpflegesegment.

Werbeslogans wie „Signal beseitigt Mundgeruch sofort!“ (1962), „Die Fluorcreme, die wirklich schützt“ (1974) oder „Wir tun alles für Ihr Lächeln“ (2011) und zahlreiche Fernseh- und Kinospots unterstützten den Markterfolg zusätzlich.

1974 lief die Marraffino-Lizenz aus und auch andere Firmen und Marken konnten jetzt Zahnpasten mit Streifen herstellen. 2019 wurde der Markenschriftzug überarbeitet und eine geschwungene Linie unter dem Schriftzug, die an ein Lächeln erinnern soll, ersetzte den früheren, rot-weiß gestreiften i-Punkt im Schriftzug. Heute steht die Marke Signal im Unilever Konzern für wirksame Zahnpflege mit vielen Produktvarianten in verschiedenen Verpackungen.

Die aktuellen Signaltuben mit besonders ausgeformter Schweißnaht.
Die aktuellen Signaltuben mit besonders ausgeformter Schweißnaht.
Signaltube mit Faltschachtel aus der Zeit zwischen 1960 und 1970.
Signaltube mit Faltschachtel aus der Zeit zwischen 1960 und 1970.
Die Signal-Reklame aus den Sechziger-Jahren des letzten Jahrhunderts warb für die Neuheit.
Die Signal-Reklame aus den Sechziger-Jahren des letzten Jahrhunderts warb für die Neuheit.
Die ursprüngliche Patentanmeldung von Leonard L. Marraffino von 1957.
Die ursprüngliche Patentanmeldung von Leonard L. Marraffino von 1957.
Die ursprüngliche Patentanmeldung von Leonard L. Marraffino von 1957.
Die ursprüngliche Patentanmeldung von Leonard L. Marraffino von 1957.